ПромПорталРнд
Каталог предприятий
Машиностроение Легкая промышленность, СИЗ, ТНП Строительство Логистика Наука Энергетика Ремонт и монтаж машин и оборудования Производство мебели и прочих готовых изделий Производство прочих готовых металлических изделий Производство лекарственных средств и материалов, применяемых в медицинских целях Производство пищевых продуктов и напитков Производство табачных изделий Производство текстильных изделий, одежды, изделий из кожи Производство прочих транспортных средств и оборудования Производство машин и оборудования Химическое производство Производство резиновых и пластмассовых изделий Производство прочей неметаллической минеральной продукции Металлургическое производство Производство компьютеров, электронных и оптических изделий Производство электрического оборудования Производство бумаги и бумажных изделий Производство автотранспортных средств, прицепов и полуприцепов

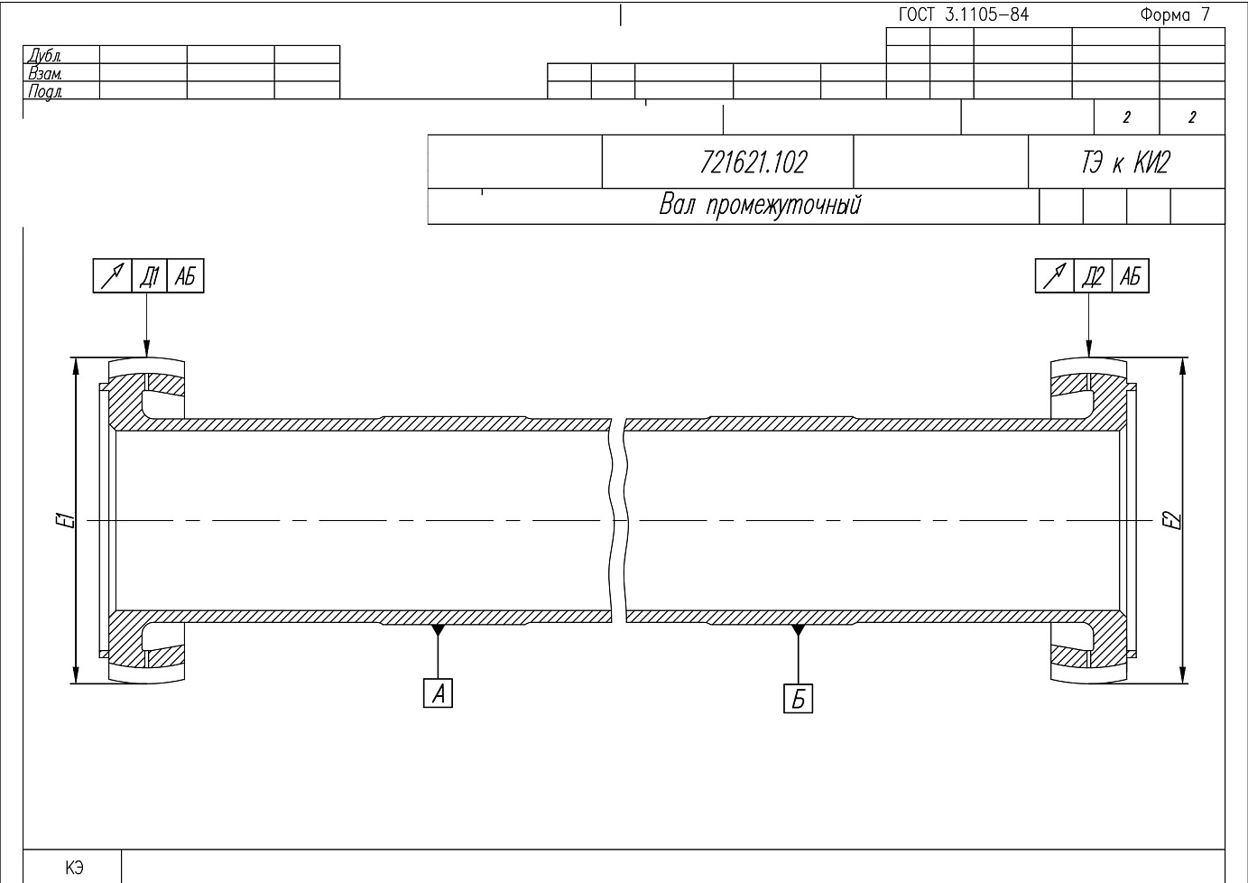
Вал промежуточный 721621.102

Заказ актуален
На портале с 28.04.2025
Описание
1. выполнить отрезку образцов в размер 20мм под азотацию и произвести обработку с припусками 2мм на сторону под термообработку согласно эскизу 721621.102 Вал промежуточный ТЭ7
2.передать заготовку на контроль боев Заказчику
3.После прохождения контроля и возврата заготовки Подрядчику, выполнить полную механическую обработку заготовки: токарные работы, зубонарезные работы, сверление согласно чертежу 721621.102 Вал промежуточный, азотацию не выполнять
4.После выполнения полной механической обработки заполнить Карту измерений
Заказчик
Ассоциация Металлообрабатывающих Предприятий